Google翻译正式退出中国。目前,这款App已经关闭了这一地区的访问权限,用户被定向到一个普通的搜索栏,并建议将该App的中国香港版本加入书签。

谷歌Chrome谷歌浏览器是目前国内使用率最高的浏览器之一。这次暂停服务直接影响了浏览器内置的“网页自动翻译”功能,给无数国内用户浏览外文网站和查阅英文资料带来了极大的不便!如果你经常使用谷歌Chrome的网页翻译功能办公和学习,那无疑是非常不便,那如何才能解决呢?

1.找到 Hosts 文件所在路径:
Windows 系统 Hosts 文件路径:C:\Windows\System32\drivers\etc\hosts Mac 或 Linux 系统 Hosts 文件路径:sudo vim /etc/hosts Android 系统 Hosts 文件路径:/system/etc/hosts
2.找到可用的地址
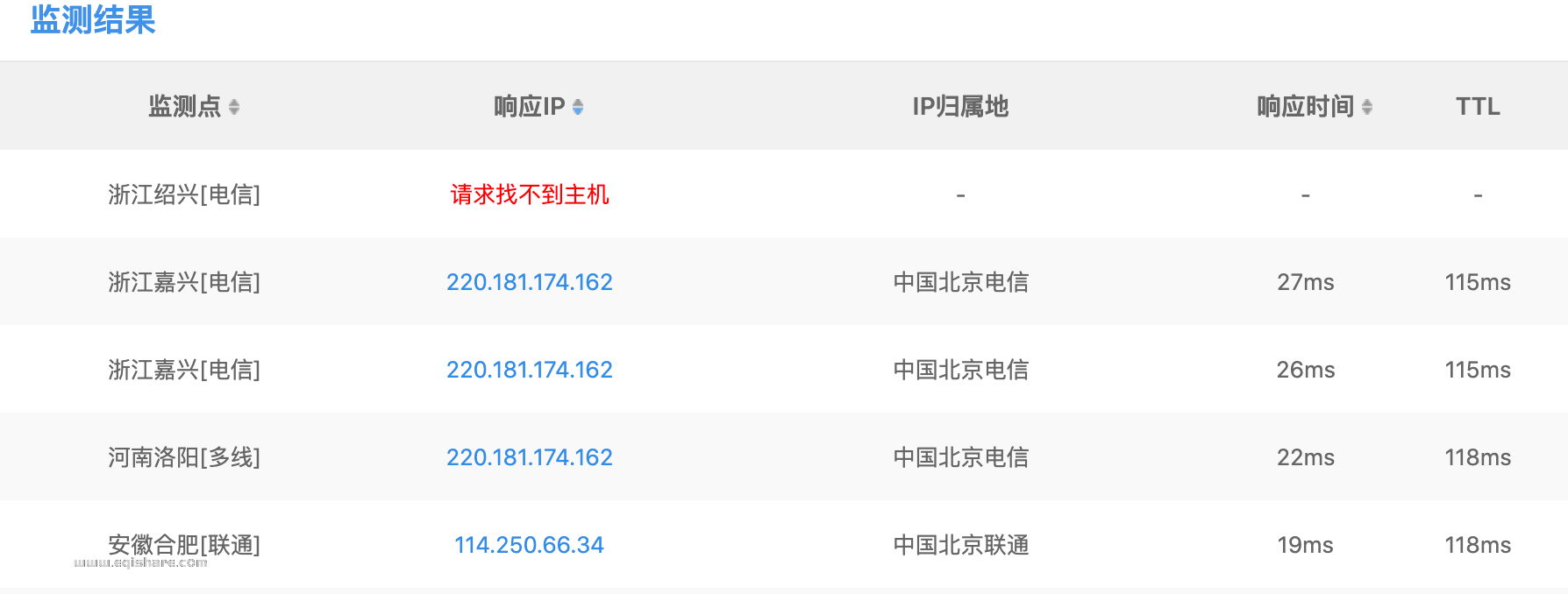
去站长工具ping.chinaz.com,查找translate.google.cn的响应ip,找一个国内地址,响应时间和TTL比较短的。


3.修改hosts,保存测试,如不行刷新DNS,ipconfig /flushdns
113.108.239.162 translate.google.com 113.108.239.162 translate.googleapis.com
最新更新地址(更新时间20230705):
64.233.189.191 108.177.97.100 216.239.32.40 142.251.175.90 142.251.171.90 74.125.196.113 142.251.176.90 142.250.195.242 172.217.218.90 142.251.168.90 142.250.192.121
小工具:https://abpyu.lanzoul.com/i9bBC0duph8j
github工程:https://github.com/Ponderfly/GoogleTranslateIpCheck






